تولید آیفون فلیپ فعلا در دستور کار اپل نیست اما همانطور که می دانید هر طرح و برنامهای ممکن است تغییر کند. با این که قرار نیست آیفون تاشو جدید را در کنار معرفی آیفون 13 در پاییز امسال ببینیم اما نشانهها حاکی است که اپل قصد دارد گوشی های تاشو شرکت هایی مثل سامسونگ، موتورولا و … را به چالش بکشد و به رقابت با آن ها بپردازد. به علاوه این که شواهدی نیز در دست داریم!
آیفون فلیپ حالا حالاها در اختیار مصرفکنندگان قرار نمی گیرد اما می بینیم که شرکت Cupertino فشار زیادی را متحمل شده است. همین ماه پیش بود که سامسونگ از جدیدترین گوشی های تاشو خود یعنی گلکسی زد فولد 3 و گلکسی زد فلیپ 3 رونمایی کرد. همین امر باعث شده تا سامسونگ در بحث تولید گوشی های تاشو با اختلاف بسیار زیادی از اپل جلو بیفتد.
اما خوب، می دانیم که اپل به هیچ وجه نگران نیست. اگر کیفیت محصولاتش از محصولات رقیب بهتر باشد، زمان تولید آن اصلا مهم نیست. علاوه بر این، حق ثبت اختراعهای مختلف و طراحیهای دیزانرها نشان می دهد که اپل توانایی تولید یک آیفون تاشو جدید و باکیفیت را دارد.
در این مطلب جدیدترین گزارشها و آخرین اخبار مربوط به آیفون تاشو جدید را در اختیار شما قرار خواهیم داد. امیدواریم با گذشت زمان تصویر واضحتری از «انقلابیترین» گوشی آیفونی که تا به حال ساخته شده داشته باشیم.
تاریخ عرضه آیفون فلیپ
مینگ چی کو، تحلیلگر محصولات اپل، پیشبینی کرده که اولین آیفون تاشو اپل در سال 2023 به بازار می آید. همچنین تخمین زده که اپل در سال اول عرضه قرار است رقم شگفتانگیز 20 میلیون iPhone Flip را به مشتریان خود بدهد.
اما در گزارشی دیگر که از سوی Digitimes منتشر شده گفته شده که آیفون فلیپ ممکن است یکسال زودتر یعنی سال 2022 معرفی شود. با این حال، جان پراسر ادعا کرده که 2022 زیاده از حد خوشبینانه است و فلیپ حالا حالاها قرار نیست معرفی شود. همچنین مارک گرمان، تحلیلگر بلومبرگ، نیز گفته که آیفون فلیپ بین 2 الی 3 سال دیگر معرفی خواهد شد. در نتیجه می بینیم سامسونگ از یک سو درحال جلو انداختن برنامههایش است و از سوی دیگر اپل اصلا عجلهای ندارد و خیلی محتاطانه عمل می کند.
اندازهی نمایشگر آیفون فلیپ
مینگ چی کو می گوید آیفون تاشو جدید صفحه نمایش بزرگ 8 اینچی خواهد داشت. یعنی صفحه نمایش آیفون فلیپ از چیزی که در مورد گلکسی فولد 3 شایعه شده بود (صفحه نمایش 7 الی 7.7 اینچی) و همچنین از آیپد مینی (7.9 اینچ) بزرگتر است.
طراحی آیفون فلیپ
طبق گفتهی جان پراسر، اپل دو نوع آیفون تاشو را تست کرده است؛ یک آیفون تاشو شبیه به تبلت (شبیه به سامسونگ گلکسی زد فولد 2) و یک آیفون تاشو صدفی (شبیه به گلکسی زد فلیپ). این منابع خبری اعلام کردهاند که اپل قرار است طراحی دوم یعنی طراحی صدفی را اجرا کند. با این حال هنوز نمی توان طراحی آن را دقیق پیشبینی کرد چرا که اپل همچنان در فاز اولیه طراحی آیفون تاشو است.
در بعضی گواهی های ثبت اختراع قابلیت هایی که اپل ممکن است برای طراحی آیفون تاشو خود به کار ببرد را می بینیم. علاوه بر آن، دستگاه هایی که قرار است آیفون تاشو جای آن ها را بگیرد نیز در این گواهی ها نشان داده شدهاند.

سال پیش از گواهی ثبت اختراعی با عنوان «حالت اجرای متصل» خبردار شدیم. در این ویژگی، صفحه نمایش اولیه با کمک اتصال مغناطیسی به صفحه نمایش ثانویه متصل می شود. ایدهی آن این است که بتوان دو دستگاه مختلف را با کمک قابلیت مغناطیسی به یک دستگاه تبدیل کرد. البته این طراحی شبیه به آیفون تاشو نیست. بیشتر شبیه به مایکروسافت سرفیس دو (Microsoft Surface Duo) است تا سامسونگ گلکسی فولد.

با این حال در گواهی ثبت دیگری که در سال 2018 از سوی وبسایت PatentlyApple منتشر شد می بینیم که طراحی آیفون تاشو جدید اینگونه است که صفحه نمایش روی خود بر می گردد اما قسمتی از آن بیرون می ماند تا اعلان ها را به کاربر نمایش دهد. انگاری آیفون شما یک تاچ بار مینیاتوری دارد که شبیه به همان قابلیت مک بوک پرو است.
اگر از 2018 هم عقبتر برویم گواهی ای می بینیم که در آن طراحی آیفون تاشو اپل شامل یک صفحه نمایش 3 تایی بود. اگر هم به سال 2016 برگردیم می بینیم که گواهی ثبت اختراع نشنا می دهد که صفحه نمایش آیفون تاشو، طبق گزارش وبسایت MacRumors، به صورت عمودی خم می شود؛ یعنی چیزی شبیه به گلکسی زد فلیپ و موتورولا Razr.
تمام این اخبار و گواهی های مختلف باعث شده تا طراحان و گرافیستهای سراسر جهان طرح هایی شبیه به آیفون فلیپ یا آیفون فولد بکشند و در اینترنت منتشر کنند. مثلا در پایین می توانید مدل سه بعدی آیفون تاشو که کانال یوتیوبی به نام #iOS beta News منتشر کرده را مشاهده کنید. طراحی آن کاملا شبیه گلکسی زد فلیپ است؛ از حاشیه های نازک و محل قرارگیری دوربین گرفته تا صفحه نمایش خارجی کوچک و قابلیت تا شدن به صورت عمودی. این طراحی، دست کم طبق تصویر زیر، احتمالا همان طراحی انتخابی شرکت اپل برای محصول تاشو خود باشد.

در دیگر طراحی پیشبینی شده از سوی LetsGoDigital می بینیم که آیفون تاشو جدید، Notch کوچکتر و یک صفحه نمایش خارجی دارد.
اگر اپل طرح قطعی آیفون تاشو خود را برنامهریزی کند قطعا Cupertino نمی تواند به تنهایی آن را اجرا کند. در اخبار شایع شده سه سال اخیر می دیدیم که گفته شده بود اپل برای تولید صفحه نمایش آیفون تاشو خود با LG و Samsung رایزنی می کند. شبکهی کرهای (با همکاری MacRumors) در ماه مارس 2019 در گزارشی گفته بود که Samsung Display طرح های پیشنهادی خود را برای اپل فرستاده تا این کمپانی آن ها را تایید کند.
اما ممکن است اپل طراحی نمایشگر تاشو را برای آیفون خود در نظر نگیرد و به جای آن طراحی نمایشگر دوتایی مثل Surface Duo را روی محصول خود پیاده کند. جان پراسر در Front Page Tech از این احتمال خبر داده بود و گفته بود که Cupertino این طراحی را برای نمونه اولیه خود انتخاب کرده است. پراسر گفته اپل طراحی حاشیه های منحنی مثل آیفون 11 را – به یاد داشته باشید که اپل دوباره حاشیه های صاف را در آیفون 12 قرار داد – برای آیفون تاشوی خود در نظر می گیرد با این تفاوت که دو نمایشگر آیفون تاشو کاملا بر روی هم منطبق خواهند شد.

استقامت و دوام آیفون فلیپ
در گواهی ای که ماه اکتبر سال پیش منتشر شده بود آمده بود که صفحه نمایش آیفون تاشو جدید قرار است نسخه بهبودیافته محافظ سرامیکی آیفون 12 داشته باشد. این محافظ سرامیکی مخصوصا قرار است برای مدل تاشو طراحی شود و 4 لایه مختلف دارد: یک لایه کاور، یک لایه محافظ سخت، یک سطح داخلی و یک لایه پشتیبان شفاف. حتی ممکن است برای استقامت بیشتر لایه شفاف پشتیبان از جنس شیشه یا لاجورد ساخته شود.
همچنین برخی پیشبینی کردهاند که لایه محافظ می تواند به لطف مواد خاص بکاررفته در آن، صفحه نمایش را خودبهخود «بهبود ببخشد». به عبارتی رد خط و خش ها را تا حد زیادی پنهان کند.
البته به طور قطعی نمی دانیم که اپل چند مدل مختلف برای تاشو معرفی کند. با این حال، پراسر در گزارشی به ما یادآوری می کند که اولین آیفون تاشو شرکت اپل می تواند طرح ها و مدل های مختلفی داشته باشد. با این که بحث پنل های تاشو در حال حاضر داغ است و همه از آن استفاده می کنند، اگر اپل نگران دوام، عمر مفید و هزینه بالای صفحه نمایش تکی نباشد می تواند از نمایشگر دوتایی در آیفون تاشو خود استفاده کند.
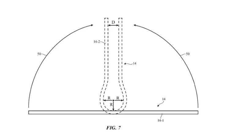
گواهی ای در فوریه 2020 منتشر شد که در آن از طرحی از آیفون تاشو خبر داده بود که باعث می شد نمایشگر از وسط خم شود اما فشاری به آن نیاید. در این طراحی صفحه نمایش کمی جمع می شد و به داخل فرو می رفت تا فشار کمتری به آن وارد شود. امیدواریم که چنین طراحی ای باعث شود استقامت و دوام صفجه نمایش آیفون تاشو افزایش یابد. بد نیست بدانید که Galaxy Z Flip طراحی کم و بیش شبیه به همین طرح دارد.
اپل اجازه ثبت گواهی های مختلفی را داده که در آن مهندسان بتوانند استقامت صفحه نمایش را با تولید نمایشگر نشکن افزایش دهند.
قیمت آیفون فلیپ
قیمت آیفون فلیپ چقدر خواهد بود؟ قطعا جواب دادن به این سوال به دو دلیل کار بسیار دشواری است. اول این که تقریبا هیچکدام از شایعات به قیمت آیفون تاشو اشاره نکردهاند (از دیگر دلایلی که نشان می دهد آیفون فلیپ حالا حالاها به بازار عرضه نمی شود). دوم این که قیمت آیفون تاشو در واقع کاملا به طراحی آن بستگی دارد و همانطور که گفتیم اپل هنوز تصمیم قطعی نگرفته است.
بهتر است بدانید که Galaxy Fold یک صفحه نمایش دوتایی دارد: یکی شبیه به تبلت (وقتی باز می شود) و اندازه آن 7.3 اینچ است و اندازهی دیگری وقتی بسته است 4.6 اینچ است. سامسونگ قیمت این دستگاه را 1,980 دلار تعیین کرده است. اما دقیقا 6 ماه بعد سامسونگ Galaxy Z Flip را معرفی کرد. Galaxy Z Flip صفحه نمایش 6.7 اینچی و گلس فوقالعاده نازک (برای دوام بیشتر) دارد و جالب این که قیمت آن 600 دلار کمتر از Galaxy Fold است. جالبتر این که سامسونگ قیمت Galaxy Z Fold 2 هم را 200 دلار کاهش داد. البته ممکن است هدف Samsung از این کار کاهش محصول موجود در بازار باشد و قصد داشته باشد که بازار را برای محصول جدید آماده کند.
اگر اپل مدل تاشو ارزانتر و کوچکتر را انتخاب کند، قیمت آن بیشتر از مدل پرمیوم آیفون 12 پرو مکس (1099 دلار) بیشتر نخواهد بود. البته اگر آیفون تاشو جدید اینگونه باشد که بتوان در هنگام نیاز آن را به تبلت تبدیل کرد، مثل Galaxy Fold، قیمت آن نسبت به گوشی هوشمند اپل قطعا به طرز چشمگیری افزایش خواهد یافت.
رقبای آیفون فلیپ
اگر آیفون فلیپ تا سال 2023 عرضه نشود قطعا بازار گوشی های هوشمند تاشو را در ابتدا به رقبایش می بازد. سامسونگ همین حالا هم سومین مدل Galaxy Z Fold و Galaxy Z Flip جدید را معرفی کرده و قرار است آن ها را در انتهای ماه اوت 2021 وارد بازار کند. علاوه بر این، قیمت این دو گوشی جدید زا سری های قبلیشان کمتر است. قیمت Galaxy Z Flip 3 از 999 دلار شروع می شود.
اگر فرض کنیم که موتورولا به بروزرسانی کردن Motorola Razr ادامه می دهد و نسخه های جدیدی از آن معرفی می کند، کار برای اپل دشوار می شود. آیفون فلیپ هنگام عرضه قطعا رقبای سرسختی خواهد داشت تازه تمام این ها بدون در نظر گرفتن ورود کمپانی جدید به عرصه تولید گوشی های تاشو اندرویدی است. (گوگل نیز ممکن است با پیکسل فولد حرفی برای گفتن داشته باشد)
با این حال می دانیم که آیفون تقریبا تا به حال هیچگاه اولین نبوده است. تنها هنگامی محصولاتی مثل آیپاد، آیفون و آیپد را معرفی می کند که احساس کند تعداد آن ها در بازار کاهش یافته است. به احتمال زیاد همین شیوه را برای تولید و معرفی آیفون فلیپ به کار بگیرد.
سخن پایانی
این تمام چیزی بود که تا الان از آیفون تاشو شرکت اپل می دانستیم. اما یک چیز قطعی است: صرف نظر از این که اپل چه طرحی برای آیفون تاشو خود بکار می برد، می تواند با معرفی محصول خود استانداردهای گوشی های هوشمند را فراتر ببرد و این صنعت را متحول کند.
شاید سامسونگ اولین شرکتی باشد که با معرفی Galaxy Fold راه را برای گوشی های هوشمند باز کرد اما حالا دارد قابلیت های مختلف را امتحان می کند و قصدش از این کار این است که مصرفکنندگان اپلی را به محصولا خود جذب کند.
اپل در اعمال تغییرات چشمگیر در صنعت گوشی های هوشمند ید طولایی دارد. هر سری محصولات آن فناوری پیشرفتهتر و کاربردیتری نسبت به سری قبلی دارد؛ از حذف جک 3.5 و حاشیه ها گرفته تا طراحی notch، همه و همه باعث شدند تا آیفون پرچمدار تکنولوژی های جدید باشد. و با این که در حال حاضر همه از اتصال 5G استفاده می کنند، به احتمال زیاد این آیفون 12 است که این تکنولوژی جدید را به اکثر مردم معرفی کرده باشد.
با همهی این تفاسیر، مطمئن ایم که طراحی آیفون تاشو شرکت اپل تاثیر به سزایی بر تکنولوژی گوشی های هوشمند تاشو و صنعت آن خواهد داشت.