اپل هنوز نتوانسته در میدان رقابت تولید بهترین دوربین برای گوشیهای هوشمند جای خود را پیدا کند؛ دوربینهای گوشیهای اپل هنوز زوم آپتیکال دارند یا به عبارتی لنز پریسکوپی هستند. ما در این مطلب نقد و بررسی کاملی از لنز پریسکوپی داریم که توضیح خواهیم داد که این تکنولوژی اصلا چیست و چگونه باعث شده زوم ایفون ها چندبرابر شود؛ همچنین به قابلیت این تکنولوژی در دیگر دستگاههای عکاسی خواهیم پرداخت.
کمپانیهای بزرگ صنعت گوشیهای هوشمند طی سالهای اخیر کوشیدهاند که بهترین و مناسبترین ابزار را در اختیار مصرفکنندگان قرار دهند که یکی از این ابزار زیرمجموعهی عکاسی (Photography) قرار دارد. بهبودهایی که در سنسورهای دوربینها اعمال شده در اصل باعث شده که رزولوشن عکسها بسیار بالا برود، عکسبرداری در نور پایین راحتتر باشد و همچنین عکسها بدون تکان خوردن دوربین ثبت شوند و کیفیت بهتری داشته باشند.
نبرد میان دوربین گوشیهای هوشمند طی سالهای اخیر بر سر «عکاسی کامپیوتری» (Computational Photography) بوده است. به این معنا که استفاده از الگوریتمها در برد اصلی و بکارگیری چندین سنسور مختلف به طور همزمان باعث تغییر شگرفی در کیفیت عکاسی میشود و میتوان گفت که تکدوربینِ بدون سنسور با اینها ابدا قابل مقایسه نیست.
با این حال، مشکلی که بسیاری از تولیدکنندگان دوربینِ اسمارت فون همچنان با آن روبهرو هستند بحث میزان زوم دوربین گوشی است.
فضای خالی یا عدم وجود فضای مناسب؟
مشکل اصلی که تولیدکنندگان دوربین با آن مواجه هستند در واقع تعبیهی ترکیب خوبی از لنزها و فضایی مناسب برای آنها است. برای این که یک دوربین زوم بهتری داشته باشد – که به آن برد focal نیز گفته میشود – در واقع باید لنزها به طور مناسبی کنار هم چیده شوند و همین باعث میشود که فضای نسبتا زیادی را اشغال کنند.
مسال اینجا است که گوشیهای هوشمند به اندازه دوربینهای دیجیتال فضای کافی برای جای دادن این نوع لنزها ندارند.
ضخامت اکثر گوشیهای هوشمند از یک سوم اینچ تجاوز نمیکند؛ به عنوان مثال ضخامت ایفون 12 پرو تنها 7.4 میلیمتر است. قطعا این فضا، پاسخگوی نیازهای تولیدکنندگان برای تعبیه لنز پریسکوپی نیست؛ همچنین در نظر داشته باشید که دیگر اجزا نیز باید در همین فضای کم جای گیرند.

گلس، قاب، صفحه نمایش و دیگر اجزای گوشی تقریبا بیشتر ضخامت گوشی را اشغال میکنند و فضای باقی مانده تنها یک سنسور دوربین کوچک را در خود جای میدهد. البته اپل سعی کرده با برجسته کردن بلوک دوربین اندکی به این فضا بیفزاید اما همچنان در جای دادن سنسورها مشکل دارد.
به واسطهی نوع ترکیب لنزهای بالای سنسور، ابدا دوربینها جای برای زوم شدن ندارند و حتی جای برای تعبیه یک لنز دورنما به صورت جداگانه وجود ندارد؛ در نتیجه لنزهای استفاده شده ثابت هستند. البته گاهی اوقات لنزها جای اندک تکانی دارند. مثلا هنگام فوکوس کردن یا ثابت نگه داشتن تصویر (Stabilization) لنز کمی جابهجا میشود اما جا برای زوم آپتیکال (یا دوربرد) وجود ندارد.
راه حل تولیدکنندگان دروبین گوشیهای هوشمند برای دور زدن این مشکل استفاده از چند دوربین با سنسورهای مختلف بوده است؛ همچنین ترکیب دوربینهای استفاده شده نیز برایشان مهم است مثلا لنزهایی مثل تلهفوتو، واید و اولترا واید در گوشیها بکار بردهاند تا دوربین گوشی به نوعی «همه فن حریف» باشد. گوشیها با استفاده از انواع لنزها و با سوییچ کردن بین سنسورهای مختلف میتوانند انواع زوم و فوکوس را در اختیار کاربر قرار دهند.
تولیدکنندگان گوشیهای هوشمند برای این که بتوانند تا حدی مشکل زوم آپتیکال را حل کنند، قابلیت زوم دیجیتال را در گوشیها قرار میدهند. در واقع عکس گرفته شده با کمکِ سنسور ابتدا کراپ میشود و بعد دویاره سایز آن تغییر میکند تا رزولوشن نهایی مطابق میل کاربر باشد.
درست است راه حلی که کمپانیهای تولید گوشی هوشمند در پیش گرفتهاند تا حدی مشکل برد Focal را برطرف میکند اما به هیچ وجه راه حل مناسبی نیست. زوم دیجیتال به این خاطر که از دادهها استفاده میکند تا جای پیکسلهای تصویر را پر کند حتی از زوم آپتیکال نیز عکس بیکیفیتتری به ما میدهد.
اگرچه میدانیم که شرکتهای سازنده گوشی هوشمند از تکنیک زوم دیجیتال برای تبلیغ خود استفاده میکنند و در آنها میگویند که برد زوم گوشی بسیار زیاد است و دوربین قابلیت زوم چندبرابری دارد.
برای مثال محدوده زوم آپتیکال دوربین آیفون 12 پرو مکس بین 2x تا 2.5x است. با این حال با اضافه شدن زوم دیجیتال این عدد به 12x نیز میرسد.
با همهی این تفاسیر، سازندگان گوشیهای هوشمند همچنان از خود میپرسند: چگونه میتوانیم زوم آپتیکال باکیفیتتری در گوشیهای خود تعبیه کنیم؟
تلاشهای اولیه برای زوم بیشتر
با این حال چند گوشی هوشمند با راههای مختلف توانستهاند به شیوههایی این مشکل را دور بزنند.
مثلا نوکیا لومیا 1020 مشکل را با سنسور غولپیکر در پشت گوشی حل کرده است. سنسور 41.3 مگاپیکسلی این گوشی هنگام عرضه – در سال 2013 – قابلیت بسیاری کاربردیای بود؛ این ویژگی آزادی عمل بیشتری به کاربران هنگام زوم کردن میداد.

لنز این گوشی به جای زوم آپتیکال در واقع به واسطهی رزولوشن بالای خود ابتدا تصویر گرفته شده توسط سنسور را کراپ میکند و سپس تصویر نهایی با مقدار زوم خواسته شده توسط کاربر منطبق میشود؛ برخلاف زوم دیجیتال که جالی خالی پیکسلهای تصویر با پیکسلهای تصادفی به طور اتوماتیک پر میشد.
حتی بعد از این که تصویر به مقدار زیادی کراپ میشد باز هم تصویر نهایی رزولوشن بسیار خوبی داشت.
دیگر راهحل این مشکل، وامگیری سازندگان گوشی از مکانیسم لنزهای قدیمی است که برای زوم باز و بسته میشدند. مثلا لنز گوشی سامسونگ گلکسی S4 زوم – که آن هم در سال 2013 عرضه شد – سیستم تلسکوپی داشت و به دوربین اجازه میداد تا برای زوم باز یا بسته شود؛ در این حالت فاصلهی لنزها کم و زیاد میشد تا مقدار زوم مورد نظر بدست آید.
با این دوربین 16 مگاپیکسلی شما زوم 10برابری از گوشی میگرفتید؛ با این که این راهحل نیز کاربردی بود اما به واسطهی فضای اشغال شده بلوک دوربین، زیبایی گوشی از بین میرفت. مصرفکنندگان خواهان گوشیهای هوشمند نازکتر بودند نه دوربینی جیبی با مشخصات گوشی هوشمند.

ایجاد فضای کافی در این مدل به نفع سازندگان بود اما مصرفکنندگان به هیچ وجه از چنین چیزی راضی نبودند. طراحان باید راهی پیدا میکردند تا نه زیبایی را فدای فضای اضافی کنند و نه فضای اضافی را فدای زیبایی گوشی.
پیدایش لنز پریسکوپی ایفون
این تکنولوژی با نامهایی مثل «لنز پریسکوپیک» یا «لنز تاشو» شناخته میشود؛ ایده اصلی این تکنولوژی این است که لنزی ساخته شود تا به توجه به مقدار نور بازتاب شده باز یا بسته شود. این قابلیت بسیار به تکنولوژی پریسکوپ زیردریاییها شباهت دارد با این تفاوت که تنها هدف آن تغییر میزان نور برای گوشیهای هوشمند است.
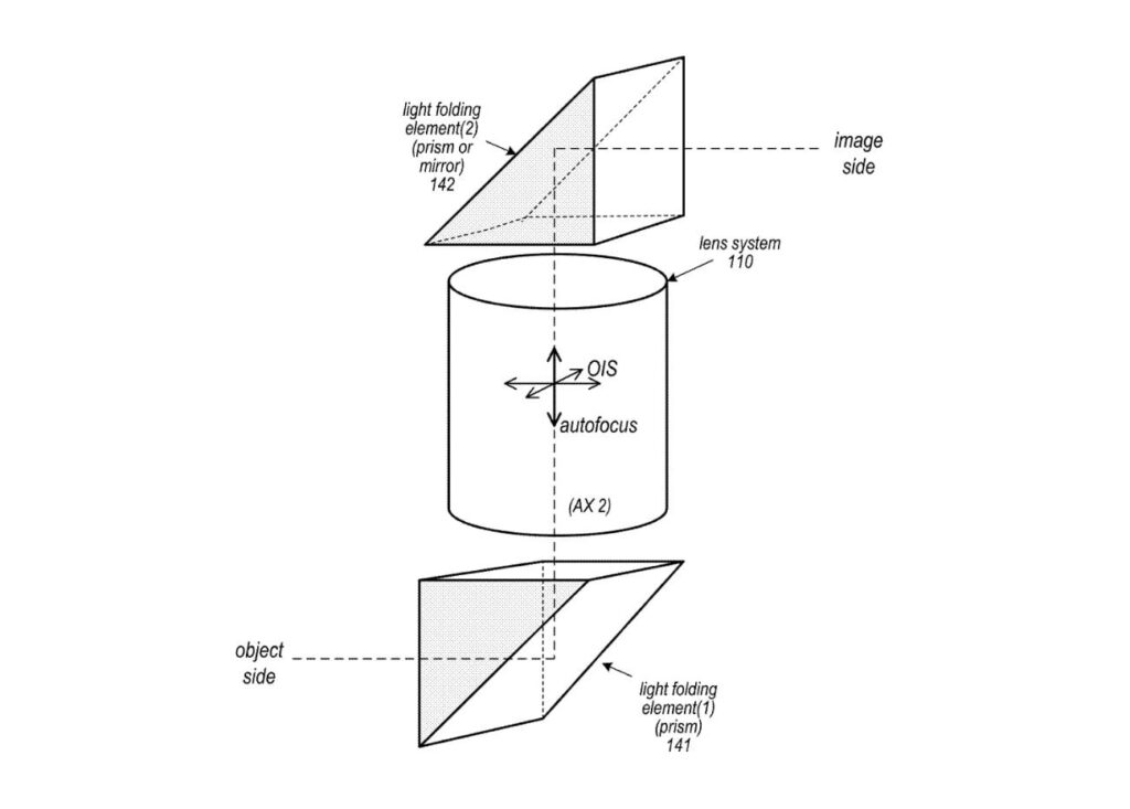
ایده اپل از لنز پریسکوپی ایفون این است که جای این که سنسور را در پشت گوشی کنار دیگر دوربینها قرار دهد آن را در واقع داخل خود گوشی – فضای باقی مانده از ضخامت اضافی – قرار دهد. از آنجایی که فضای اضافی کوچکِ باقیمانده از ضخامت گوشی، استفادهای برای طراحان ندارد میتواند سنسور دوربین را در فضایی بین داخل قاب و نزدیک به دوربین جای دهد.
لنزهای پریسکوپی مانند قبل در جلو دوربین گذاشته میشوند اما یک آینه یا بازتابکننده نور را از پشت گوشی توسط دیافراگمی به دوربین منعکس میکند. در نتیجه دوربین در اصل با بهرهگیری از قدرت بازتاب نور، تصویر را از یک گوشه ثبت میکند.

از آنجایی که این سیستم باعث میشود فضایی اضافی بین سنسور و عامل بازتاب کننده به وجود آید، در مقایسه با طراحی قدیمی گوشی های هوشمند میتوان ترکیب و انواع لنزهای متنوعتری در دوربین تعبیه کرد. علاوه بر این، فضای بین لنزها نیز عریضتر میشود و از طراحان میتوانند از همین فضای اضافی برای ترکیب لنزهای مختلف استفاده کنند.
از آنجایی که فضای خالی جدیدی بین لنزها به وجود میآید، دست طراحان اجزای گوشی باز است تا این اجزا را طوری کنار هم قرار دهند که لنزها کنترل بیشتری بر زاویه دوربین و زوم چندبرابری داشته باشند و مانند گذشته از کیفیت تصویر کاسته نشود.
به لنز پریسکوپی ایفون به چشم لنز زومیِ DSLR یا بدون آینه نگاه کنید. در اکثر مواقع، تغییر برد focal میتواند باعث تغییر طول خود لنز نیز بشود؛ لنز میتواند در این فضای اضافی به راحتی جلو و عقب برود.
با وجود فضای کم داخل گوشی، لنز پریسکوپی ایفون میتواند ویژگیها و قابلیتهای ذکر شده را دارا باشد.
عرضه اولیه
اپل قطعا اولین شرکتی نیست که لنز تلسکوپی در ایفون های خود میگذارد؛ اخیرا دیگر رقبای اپل نیز گوشیهایی با این تکنولوژی جدید را وارد بازار کردهاند.
هوآوی اولین شرکتی بود که در گوشی پرچمدار خود P30 Pro لنز پریسکوپی قرار داد و نام تجاری و تبلیغاتی آن را نیز SuperZoom Lens (لنز سوپر زوم) گذاشت. اطلاعاتی که هوآوی به مشترکان خود در رابطه با زوم این گوشی داده از این قرار است: قابلیت زوم 10x هیبرید تا عکسبرداری با زوم حداکثری 50 برابر.

با این حال، استفاده عملی هوآوی از این تکنولوژی جذاب، چندان تعریفی ندارد. مثلا لنز واید آن 40 مگاپیکسل و لنز اولترا واید آن 20 مگا پیکسل اما سنسوری که در دوربین تاشو بکار رفته است تنها 8 مگاپیکسل رزولوشن به کاربر میدهد.
درست است که لنز کوچکتر زوم آپتیکال دارد اما در واقعیت تنها 5برابر بیشتر روی سوژه زوم میکند. هوآوی برای این که به زوم هیبرید 10برابری برسد کاری در P30 Pro کرده در واقع ترکیب تصویر 8 مگاپیکسلی لنز پریسکوپی را با تصویر کراپ شده از سنسور لنز 40 مگاپیکسلی بوده است؛ تصاویر گرفته شده توسط این دو لنز باهم ترکیب شدهاند تا تصویر 10برابر زوم شده، جزییات بیشتری داشته باشد.
زوم 50برابری این گوشی هم مدیون تکنیکهای زوم دیجیتال است. تصویر توسط الگوریتمهای جدید ابتدا کراپ و سپس ابعاد آن بزرگ میشود.
رقیب اصلی اپل، سامسونگ نیز لنز پریسکوپی را در گوشی گلکسی S20 اولترا که در فوریه سال 2020 عرضه شد، وارد بازار کرد. لنز پریسکوپی با سنسوری با کیفیتترِ 48 مگاپیکسلی ترکیب شده و سامسونگ نام این سیستم را Space Zoom یا فضای زوم گذاشته است.

طبق توضیحات سامسونگ انواع زوم گلکسی S20 اولترا عبارت است از: زوم 4x آپتیکال، زوم 10x هیبرید که از دو تکنیک کراپ و افزودن پیکسل در آن استفاده میشود و زوم 100x با تکنیک قدیمی دیجیتالی.
این دو مدل که از لنز پریسکوپی بهرهمند بودند نشان دادند که این تکنولوژی از پتانسیل خوبی برخوردار است؛ با لنز پریسکوپی، میزان زوم آپتیکال به مقدار قابل توجهی افزایش مییابد و در عین حال نیازی به اضافه کردن فضای اضافه به بلوک دوربین و سلب زیبایی از طراحی گوشی نیست.
آیا قدرت زوم آیفون افزایش یافته است؟
در حال حاضر هنوز معلوم نیست که آیا اپل از لنز پریسکوپی در سری ایفون های جدید اش استفاده میکند یا نه؛ با این حال یحتمل به زودی شاهد این تکنولوژی جدید خواهیم بود.
در گزارشی که از سوی تحلیلگر محصولات اپل، Ming-Chi Kuo در ماه نوامبر سال 2020 منتشر شده، آمده است که اپل احتمالا از این تکنولوژی در محصولات 2022 خود استفاده خواهد کرد. اما Kuo در مارس 2021 گزارشِ خود را تصحیح کرد و گفت که اپل به احتمال زیاد در سال 2023 از لنز پریسکوپی در ایفون استفاده خواهد کرد.
برخلاف گفتهی Kuo و در گزارشهای منتشر شده از سوی دیگر وبسایتها گفته شده که لنز پریسکوپی در ایفون بعدی استفاده خواهد شد.
در همان ماه نوامبر سال 2020 شایع شد که اپل به دنبال تولیدکننده «دوربینهای تاشو» برای مدلهای آیفون جدید خود است. گفته شده بود که یکی از سه لنز تعبیه شده در بلوک دوربین، پریسکوپیک است و قدرت زوم دوربین را به مقدار زیادی افزایش خواهد داد.
در دسامبر 2020 نیز وبسایتهای تحلیل محصولات اپل میگفتند که تولیدکننده دوربینهای آیفون – یعنی LG InnoTek – از مدل لنزهای سامسونگ برای ایدهبرداری و الهام گرفتن ساخت «دوربین تاشو» استفاده میکند. این مدلها بعدها قرار بود در مدلهای مختلف آیفون بکار گرفته شوند.

طبیعتا اپل اجازه و حق ثبت اختراع در این زمینه را به شرکتهای مختلفی داد. در ژانویه 2021 از یکی از این مدلها خبردار شدیم؛ در این مدل لنزها در سیستم دوربین تاشو قابلیت جابهجایی داشتند و همین نکته باعث میشد تا تصویر ثابت باشد و تار نشود و همچنین ویژگی فوکوس خودکار کیفیت بیشتری داشته باشد.
البته این این طرح و پیادهسازیِ آن لزوما مربوط به آیفون نمیشود. با این حال طرح اجراییِ خوبی برای این تکنولوژی جدید است. استفاده از این تکنولوژی به روشهای دیگر نیز میتواند منطقی و درعین حال موفقیتآمیزتر باشد.
در اپل کار (Apple Car) – نام پروژهای که شایع شده اپل درحال کار برروی آن بوده و قرار است خودرو خودران خود را تولید کند – همچنین میتوان از سیستم لنز پریسکوپی برای اسکن و بررسی محیط اطراف استفاده کرد. درک و پیادهسازی سیستم کار لنزها و دوربینها میتواند به اپل کمک کند تا این سنسورهای جدید را در خودِ بدنهی ماشین تعبیه کند و تا حدی پنهان سازد.
تمام شواهد از استفاده اپل از لنز پریسکوپی در ایفون های جدید خبر میدهند. تنها نکتهای قابل توجه است این است که اپل چه وقت بالاخره دل را به دریا میزند و از این تکنولوژی استفاده میکند و همچنین تا چه حد میتواند از امکانات بالقوهی آن استفاده کند.
لنزهای پریسکوپی با کمک عکاسی کامپیوتری میتوانند در افزایش زوم چندبرابری ایفون تاثیر بسزایی داشته باشند و اپل میتواند قلههای جدیدی را در بحث عکاسی با آیفون فتح کند.